Підсумкова контрольна робота

Додано: 27 грудня 2021
Предмет: Креслення
Тест виконано: 147 разів
12 запитань
Запитання 1

1. Електричною схемою називають ....

варіанти відповідей

документ, на якому показані у вигляді умовних зображень і позначень складові частини виробу і зв'язки між ними.

 відрізок, який показує наявність зв'язку між елементами схеми.

складова частина схеми, яка виконує визначену функцію у виробі і не може бути розділена на частини, що мають самостійне функціональне значення (резистори, конденсатори та ін.).

Запитання 2

2. Резистор, трансформатор, конденсатор, діод, і т.д. це....

варіанти відповідей

пристрій

елемент схеми

функціональна частина

Запитання 3

3. Схема, яка визначає повний склад елементів і зв'язків між ними, дає детальне представлення про принципи роботи виробу. Служить для розробки інших конструкторських документів (креслень друкованих плат, монтажних схем і т.п.), вивчення принципів роботи виробу при його налагодженні й експлуатації.... 

варіанти відповідей

структурна

функціональна

принципова

Запитання 4

4.  Вкажіть найменування умовного графічного позначення елемента електричної мережі...

варіанти відповідей

теплове реле

Запобіжник плавкий

Діодний мост 

Запитання 5

5. Вкажіть найменування умовного графічного позначення елементу електричної мережі...

варіанти відповідей

транзистор

діод

трансформатор

Запитання 6

6. На якому рисунку представлено умовно графічне позначення електричної машини

варіанти відповідей
Запитання 7

Який це графічний елемент зображений

варіанти відповідей
Запитання 8

Який елемент на схемі позначається буквою R

варіанти відповідей

конденсатор

резистор

діод

танзистор

Запитання 9

Який зображений елемент....

варіанти відповідей

транзистор

діод

конденсатор

Запитання 10

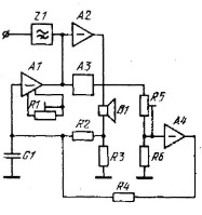
Який тип схеми зображений....

варіанти відповідей

структурна

принципова

функціональна

загальна

Запитання 11

Який елемент зображений

варіанти відповідей

трансформатор

транзистор

діод

Запитання 12

Вкажіть найменування умовного графічного позначення елемента електричної мережі...

варіанти відповідей

діод

світлодіод

амперметр

Створюйте онлайн-тести
для контролю знань і залучення учнів
до активної роботи у класі та вдома

Створити тест